rozpínací kontakt při +100+5°C,
automatický reset při poklesu na +70°C±15°C,
max. zatížení kontaktů 250V, 5A ,
kovové pouzdro bez izolace,
vývody délka 55mm.
Udc (URRM, UCEO, Umax) = 60 [V]
UAC-IN (max.vstupní střídavé napětí) = 500 [V]
IAC-OUT (TC/TA=25°C) = 5 [A]
Uisol (@25°C/1min/50Hz) = 2500 [V]
RDC = 0.05 [Ω]
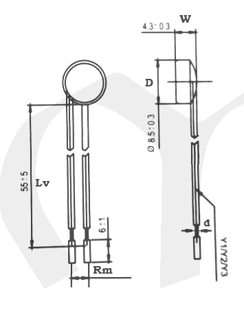
| RM - rozteč vývodů | 2.50 [mm] |
| Počet vývodů | 2 |
| W-šířka | 4.3 [mm] |
| D - pr.vnější | 8.5 [mm] |
| d (Ø vývodů) | 0.80 [mm] |
| Lv (délka vývodů) | 55 [mm] |
Balení a hmotnost:
| Hmotnost | 2.1 [g] |
| Balení | 100ks |
| Typ balení | SYP |
